Шаблоном WG12 можно пользоваться вместе с линейкой сварщика, которая поставляется отдельно. Линейка используется для расчета катета угловых и тавровых соединений сваренных под ассиметричным (тупым или острым) углом.

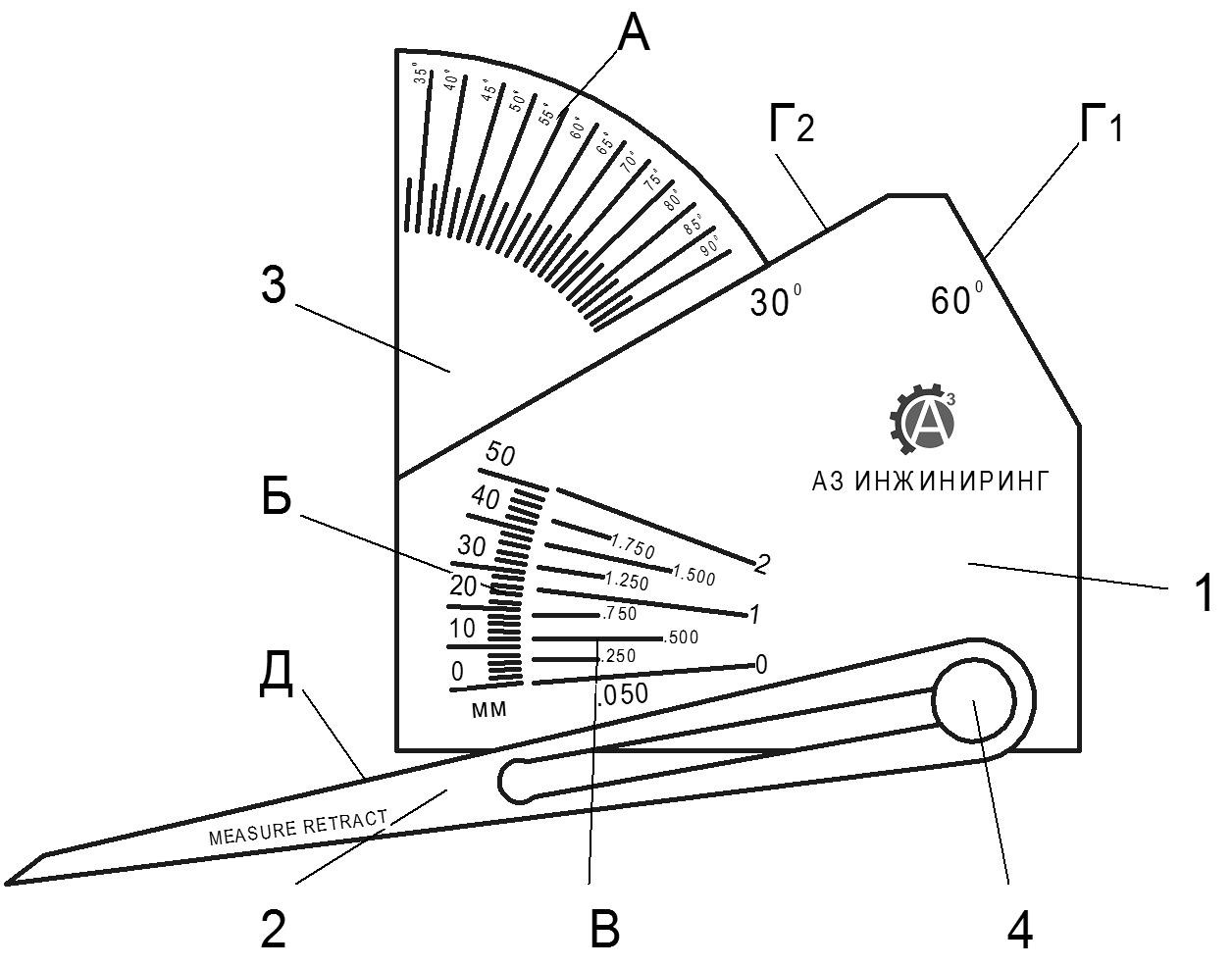
Общий вид WG-12:
1 – основание; 2, 3 – измерительные движки; 4 – стопорный винт; А, Б, В – измерительные шкалы; Д – контрольная грань для снятия показаний по шкале Б и В; Г2 и Г1 – контрольные грани, выполненные под углом 30° и углом 60°.
Технические характеристики
|
Шкала |
Ед. изм. |
Диапазон шкалы |
Цена деления шкалы |
Погрешность измерения |
|
А |
град |
30-90° |
1 |
±1 |
|
Б |
мм |
0-50 |
2 |
±0,20 |
|
В |
дюйм |
0-2 |
0.05 |
±0,05 |
Смещение кромок

Измерение производят по шкале Б с использованием измерительного движка 2.
Измерение высоты стыкового шва

Измерение производят по шкале Б с использованием измерительного движка 2.
Измерение величины катета углового шва

Измерение производят по шкале Б с использованием измерительного движка 2.
Измерение угла

Измерение производят по шкале А с использованием измерительного движка 3.
Для проверки углов 30° и 60° используют грани Г1 и Г2.
Универсальный шаблон сварщика WG-12 (SKEW-T FILLET WELD GAUGE, измеритель отклонений сварного шва) изготавливается в соответствии с ТУ 427600-088-4407661-2017 «Универсальные шаблоны сварщика. Общие технические условия» и используется для контроля параметров угловых и тавровых соединений сваренных под углом больше или меньше 90°.
Основное конструктивное отличие данной модели это удлинённая планка дающая возможность проводить измерения там, где не могут быть использованы шаблоны других конструкций. Помимо контроля самого шва, шаблон имеет шкалу для измерения тупых и острых углов сварных заготовок.
Данным шаблоном можно пользоваться вместе с входящей в комплект поставки линейкой сварщика. Линейка используется для расчета катета угловых и тавровых соединений сваренных под ассиметричным (тупым или острым) углом. Такой карманный калькулятор может быть полезен при составлении проектной документации, в работе дефектоскопистов и надзорных органов, когда необходимо оперативно рассчитать размер катета и тут же сверить действительное значение с предписанием норматива (в том числе ГОСТ 23518-79). Использование линейки сварщика снимает необходимость применения тригонометрических функций и логарифмической линейки обычно используемой в таких случаях.
Оформить покупку в интернет-магазине. Вам необходимо добавить продукцию в электронную корзину, заполнить короткую заявку и отправить её нам.
Обратится к специалистам «А3 Инжиниринг». Написать на электронную почту, в WhatsApp, или позвонить по номеру телефона. Указать какая товарная позиция вас интересует, а также количество единиц, и получить счет на оплату.
Посетить наш офис, где можно протестировать продукцию, а после оформить заказ.
Наша компания работает с надёжными курьерскими службами, ответственными транспортными компаниями, что позволяет организовать обслуживание клиентов на высшем уровне. Доставка осуществляется по всей территории РФ, Казахстана и Беларуси.
Вы сами выбираете подходящую компанию для получения товара − «Деловые линии», ПЭК, СДЭК «СПСР-экспресс», DHL, «Курьер Сервис», «Грузовозофф». Стоимость доставки зависит от удалённости пункта назначения от нашего склада.
Пункт выдачи СДЕК в г. Москва: Нагорный проезд д.7 стр. 1.
Мы принимаем оплату безналичным способом. Вам необходимо осуществить перевод средств на расчётный счёт нашей компании. Все документы будут подготовлены максимально быстро − за 60-90 минут.
Вместе с продукцией вы получаете:
Также к товару прилагаются официальные документы − инструкция, гарантийный талон, свидетельство о калибровке или поверке, если эти процедуры проводились. Узнать больше можно, позвонив нам по номеру +7 (800) 500-59-46.