Универсальный шаблон сварщика WG6 изготавливается в соответствии с ТУ 427600-088-4407661-2017 «Универсальные шаблоны сварщика. Общие технические условия» и позволяет измерять смещение, угол разделки кромки, величину зазора, угол раскрытия Х-шва, высоту шва, размеры углового шва, ширину шва, глубину подреза и пр.

Общий вид WG6:
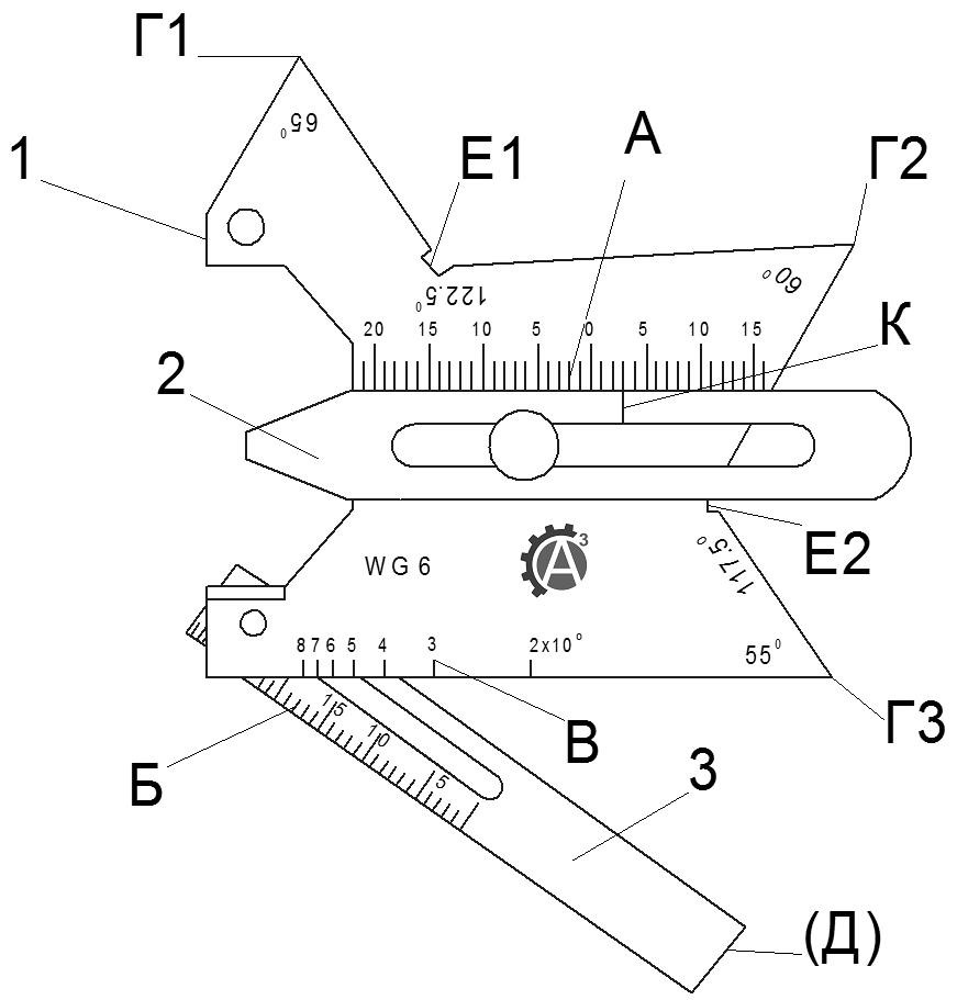
1 – основание; 2, 3 – измерительные движки; А, Б, В, Д (с обратной стороны движка 3) измерительные шкалы; К – контрольная риска-индекс шкалы (А); Г1-3, Е1-2 – контрольные углы
Технические характеристики:
|
Контролируемый параметр |
Диапазон измерения |
Цена деления шкалы |
Погрешность |
|
Линейная шкала |
20 - 0 - 15 мм |
1 мм |
± 0,2 мм |
|
Измерение зазора |
0,5 - 3,5 мм |
1 мм |
± 0,1 мм |
|
Измерение ширины шва |
5 - 30 мм |
1 мм |
± 0,2 мм |
|
Угол канавки |
20 - 80° |
1° |
± 2° |
|
Односторонний угол канавки |
117,5 - 122,5° |
1° |
± 0,5° |
|
Углы |
45, 55, 60, 65° |
1° |
± 0,5° |
Методика работы с измерительным шаблоном WG6:
1. Измерение смещения кромок

Измерение производят по шкале А с использованием измерительного движка 2.
2. Измерение высоты стыкового шва
Измерение производят по шкале А с использованием измерительного движка 2.
3. Измерение угла

Измерение производят по шкалам Г1-3, Е1-2.
3. Измерение протяженности дефекта

Измерение производят по шкале Б с использованием измерительного движка 3.
4. Измерение зазоров

Измерение производят по шкале Д с использованием измерительного движка 3.
Гарантийный срок эксплуатации – 1 год (не менее). Поставляется с метрологической аттестацией.
Оформить покупку в интернет-магазине. Вам необходимо добавить продукцию в электронную корзину, заполнить короткую заявку и отправить её нам.
Обратится к специалистам «А3 Инжиниринг». Написать на электронную почту, в WhatsApp, или позвонить по номеру телефона. Указать какая товарная позиция вас интересует, а также количество единиц, и получить счет на оплату.
Посетить наш офис, где можно протестировать продукцию, а после оформить заказ.
Наша компания работает с надёжными курьерскими службами, ответственными транспортными компаниями, что позволяет организовать обслуживание клиентов на высшем уровне. Доставка осуществляется по всей территории РФ, Казахстана и Беларуси.
Вы сами выбираете подходящую компанию для получения товара − «Деловые линии», ПЭК, СДЭК «СПСР-экспресс», DHL, «Курьер Сервис», «Грузовозофф». Стоимость доставки зависит от удалённости пункта назначения от нашего склада.
Пункт выдачи СДЕК в г. Москва: Нагорный проезд д.7 стр. 1.
Мы принимаем оплату безналичным способом. Вам необходимо осуществить перевод средств на расчётный счёт нашей компании. Все документы будут подготовлены максимально быстро − за 60-90 минут.
Вместе с продукцией вы получаете:
Также к товару прилагаются официальные документы − инструкция, гарантийный талон, свидетельство о калибровке или поверке, если эти процедуры проводились. Узнать больше можно, позвонив нам по номеру +7 (800) 500-59-46.