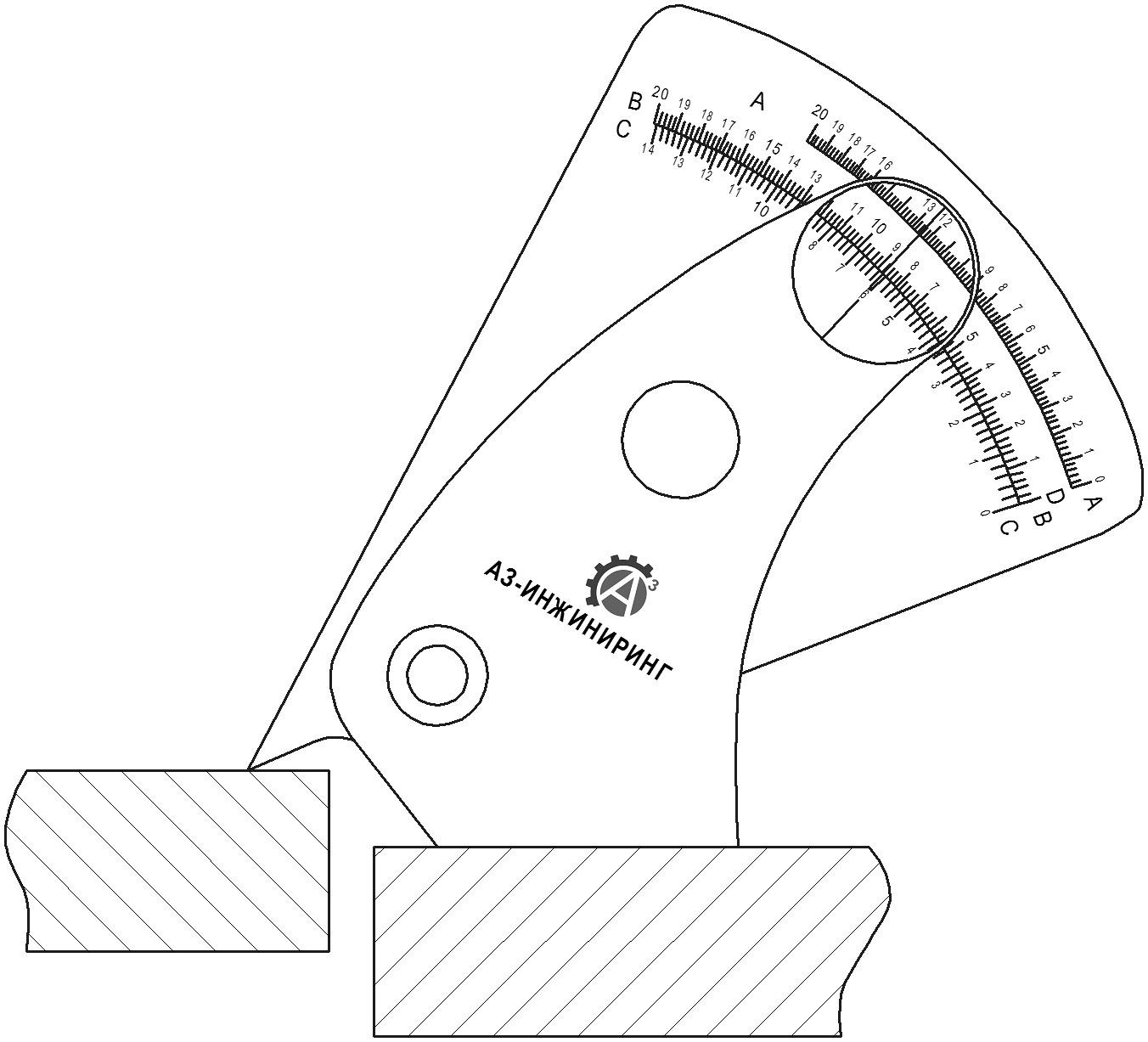
Универсальный шаблон сварщика WG-8 изготавливается в соответствии с ТУ 427600-088-4407661-2017 «Универсальные шаблоны сварщика. Общие технические условия». Шаблон WG8 предназначен для визуально-измерительного контроля параметров углового шва. Отличительной особенностью данного шаблона является возможность контролировать угловые швы с неравными катетами.
Общий вид WG8

1 – основание; 2, 3, 4 – измерительные движки; 5, 6 нет на рисунке – стопорные устройства движков (2) и (4) соответственно; А, Б, В – измерительные шкалы; И – контрольная риска-индекс шкалы (А); К – контрольная грань для снятия показаний шкалы (Б); Л – контрольная точка для снятия показаний по шкале (В); М – направляющие движка (2).
Измерительный шаблон WG8 предназначен для визуально-измерительного контроля параметров углового шва с неравными катетами.

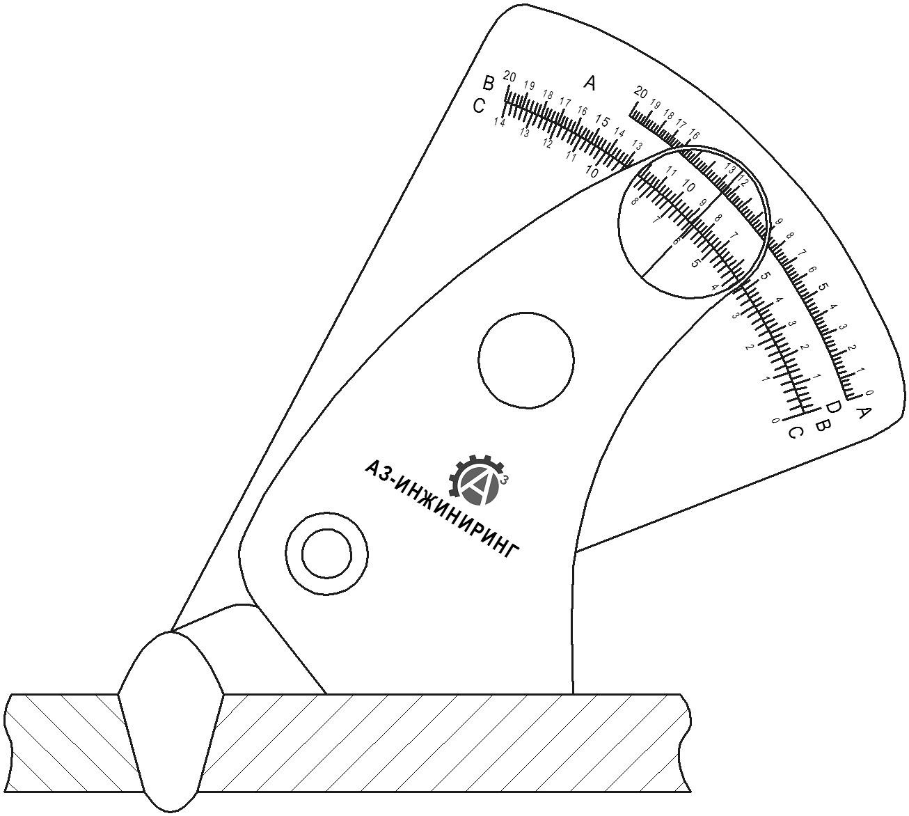
Измерение производят по шкале Б с использованием измерительного движка 3

Измерение производят по шкалам Б и В с использованием измерительных движков 3 и 4.
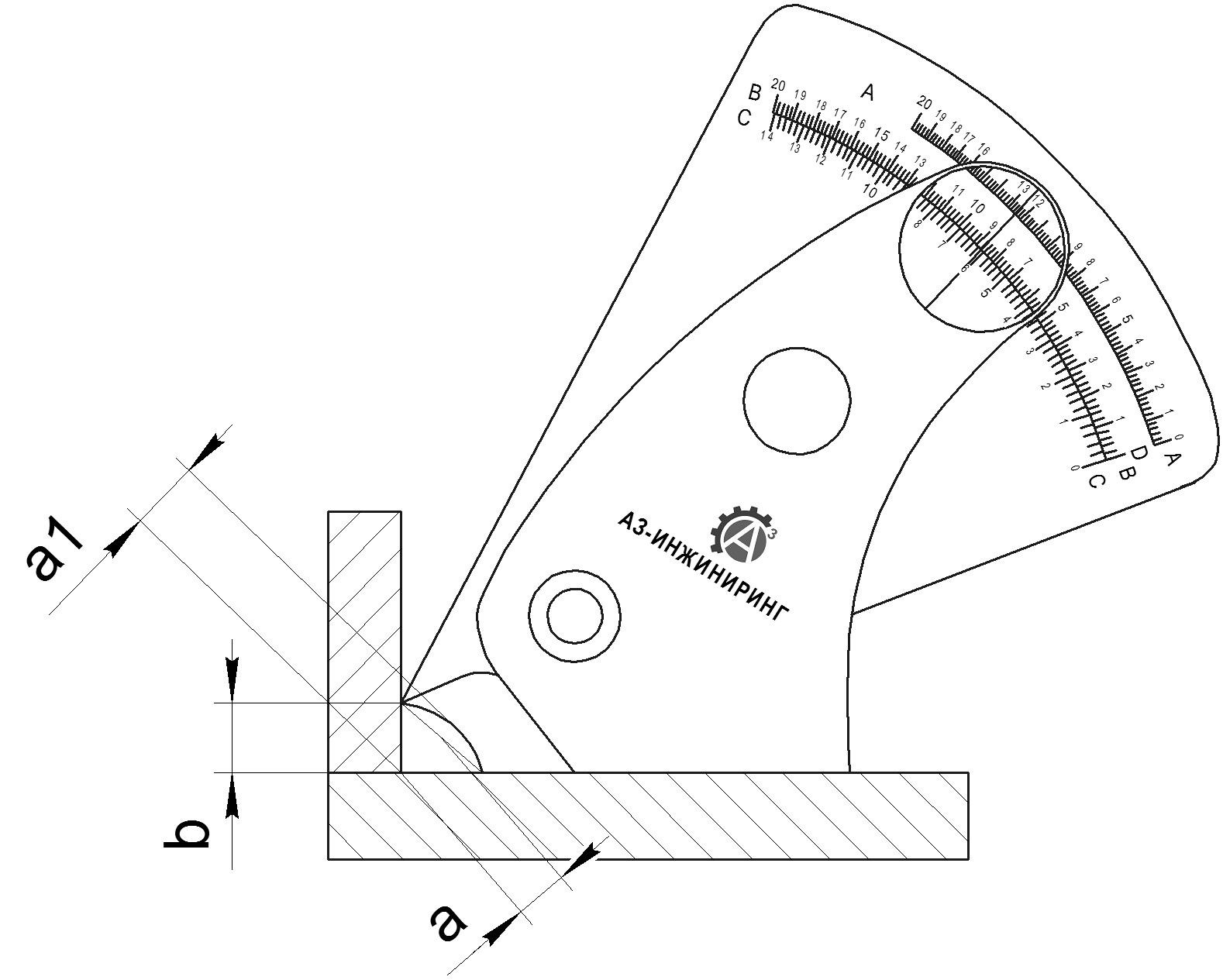
Измерение величины фактической толщины углового шва

Измерение производят по шкале А с использованием измерительного движка 2.
Гарантийный срок эксплуатации – 1 год (не менее). Поставляется с метрологической аттестацией.
Оформить покупку в интернет-магазине. Вам необходимо добавить продукцию в электронную корзину, заполнить короткую заявку и отправить её нам.
Обратится к специалистам «А3 Инжиниринг». Написать на электронную почту, в WhatsApp, или позвонить по номеру телефона. Указать какая товарная позиция вас интересует, а также количество единиц, и получить счет на оплату.
Посетить наш офис, где можно протестировать продукцию, а после оформить заказ.
Наша компания работает с надёжными курьерскими службами, ответственными транспортными компаниями, что позволяет организовать обслуживание клиентов на высшем уровне. Доставка осуществляется по всей территории РФ, Казахстана и Беларуси.
Вы сами выбираете подходящую компанию для получения товара − «Деловые линии», ПЭК, СДЭК «СПСР-экспресс», DHL, «Курьер Сервис», «Грузовозофф». Стоимость доставки зависит от удалённости пункта назначения от нашего склада.
Пункт выдачи СДЕК в г. Москва: Нагорный проезд д.7 стр. 1.
Мы принимаем оплату безналичным способом. Вам необходимо осуществить перевод средств на расчётный счёт нашей компании. Все документы будут подготовлены максимально быстро − за 60-90 минут.
Вместе с продукцией вы получаете:
Также к товару прилагаются официальные документы − инструкция, гарантийный талон, свидетельство о калибровке или поверке, если эти процедуры проводились. Узнать больше можно, позвонив нам по номеру +7 (800) 500-59-46.